BALANCING BALL VALVE 682/692 WELDED CONNECTION
Working medium
Temper balancing ball valves are designed for regulation (balancing) of the working fluid flow in heating, cold supply and ventilation systems. The ball has a special orifice and the valve is equipped with a scale of values. Regulation is carried out by turning the handle with the pointer. The selected position of the handle is fixed with a bolt and a nut-butterfly.
Two types of regulating ball valves:
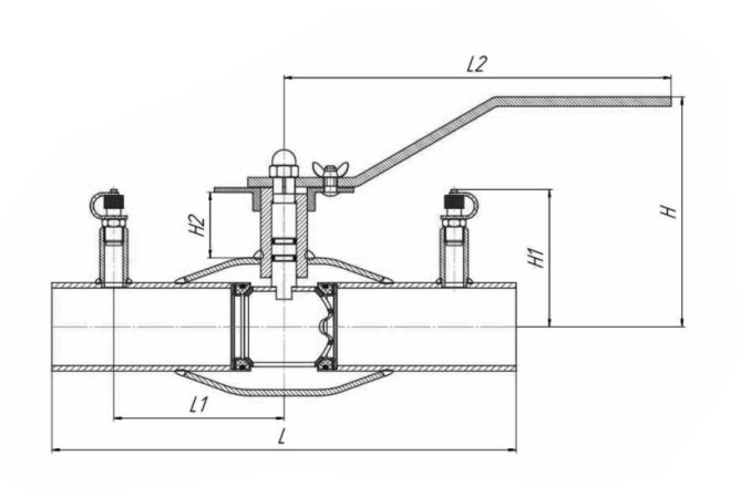
1) With measuring nipples (see the picture and the drawing on the page). All the measurements could be measured by a flow meter.
2) Without measuring nipples.Flow adjustment is made only by a handle with index.
Characteristics modification
| DN | PN | Product number | L | L1 | L2 | H | H1 | H2 | |
|---|---|---|---|---|---|---|---|---|---|
| 20 | 40 | 68220020 | 230 | 65 | 175 | 135 | 74 | 45 | |
| 25 | 40 | 68220025 | 230 | 65 | 175 | 138 | 76 | 45 | |
| 32 | 40 | 68220032 | 260 | 80 | 175 | 140 | 79 | 45 | |
| 40 | 40 | 68220040 | 260 | 90 | 250 | 148 | 84 | 43 | |
| 50 | 40 | 68220050 | 300 | 110 | 250 | 148 | 88 | 40 | |
| 65 | 25 | 68220065 | 360 | 120 | 250 | 152 | 98 | 36 | |
| 80 | 25 | 68220080 | 370 | 135 | 300 | 186 | 138 | 49 | |
| 100 | 25 | 68220100 | 390 | 135 | 300 | 194 | 148 | 43 | |
| 125 | 25 | 68220125 | 330 | 115 | - | - | 158 | 51 | |
| 150 | 25 | 68220150 | 360 | 125 | - | - | 168 | 58 |